גולד פטנטים ויעוץ פיננסי בע”מ (1992)
עריכה, רישום וניהול של פטנטים, סימני מסחר ומדגמים בארץ ובעולם
רח’ יוחנן הסנדלר 15, חיפה | טלפון: 04-8110007 | office@gold-patent.co.il | gold-patent.co.il

טרוולו Travalo בקבוקון בושם

טרוולו Travalo בקבוקון בושם לנשיאה בתיק – הסיפור המלא של הפטנט הממוסחר, צפו גם בוידאו בתחתית העמוד

כרמית מציגה את האסטרטגית אכיפת הפטנט שקיבלה בגולד פטנטים, בסמינר האביב שארגנה חברת גולד פטנטים במאי 2015. קראו בקישור זה.


Carmit Turgeman - Guest speaker talking about Genie S and Travalo at Gold Patents spring seminar - May 2015
 

כרמית תורג'מן בוגרת המסלול תעשייה וניהול הנדסה מהטכניון מ-2005. האמצאות שלה מתייחסות למכשירי מילוי שונים, את הראשונה היא הגתה בעת חופשה בחו"ל ב-2004. בזמן שארזה את מזוודותיה לטיול שלה, בקבוק גדול של בושם יוקרתי האהוב שלה נפל ונשבר. עלה בדעתה שבקבוקונים המתמלאים מחדש בבשמים שונים, כל אחד בבושם אחר, יהיה אידאלי לנסיעות. אך לא הצליחה למצוא מיכל מתאים לעשות זאת, חוץ מאשר בקבוקונים לא יעילים ולא אטומים דיים להכיל בושם.

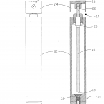
כרמית בנתה ובחנה שסתום מיוחד חד כיווני כמנגנון מילוי בושם שישולב בבקבוק קטן .

אז כרמית בנתה ובחנה שסתום חד כיווני כמנגנון מילוי שיכול להיות משולב בבקבוק קטן. מנגנון המילוי תואם למרססים הסטנדרטיים ולמנגנוני ההתזה של בקבוקים בגודל מלא. הבקבוק הקטן מתמלא בבושם על ידי הסרה פשוטה של מכסה המנגנון המרסס או המתיז, בכך חושף צינורית קטנה, המוחדרת לתוך השסתום החד כיווני הממוקם בחלקו התחתון של הבקבוק הקטן, מה שמאפשר לנוזל הבושם לזרום הישר מהבקבוק המקורי הגדול אל תוך הקטן.

כרמית התייעצה עם עורכת הפטנטים ד"ר מרגנית גולדרייך, מנכ"לית גולד פטנטים ויעוץ כלכלי בע"מ, שאצלה קיבלה יעוץ מקיף בנושא רישום פטנטים ולווי עסקי להמצאותיה. בהמשך הוגשה בקשה לרישום פטנט, ואז בקבוקון בושם לנשיאה בתיק החל את דרכו לכיוונים מסחריים.

כרמית הגישה בקשה לרישום פטנט זה ופטנטים נוספים באמצעות החברה לעריכת פטנטים, מדגמים וסימני מסחר גולד פטנטים ויעוץ פיננסי בע"מ. השתתפה בכנסים, תערוכות, הרצאות וקורסים בעיצוב מוצר והחלה להציג את מוצריה.

 

132

ב-2008 כרמית חברה לשותף הנוכחי שלה מהונג-קונג  Travalo & Genie-S למכירות המוצר בעולם כולו, שעד כה מסתכמים בכמה מיליונים.

 ב-2010 המוצרים שלה זכו בפרסים מובילים כמו:

  • Best Beauty Gadget Award מטעם ה- Cosmopolitan Beauty Awards, (סריקת ההיגד מהחוברת)
  • Gift of the Year Award מטעם ה-  Giftware Association,
  •  The Fragance Foundation – FiFi Awardעבור פריצת דרך טכנולוגית לשנת 2010
  • בחירת העורך, של  Frontier מגזין העסקים בתעשיית הנסיעות הקמעונאיות, לשנת 2011

אבל, כרמית לא ישבה על זרי הדפנה. בסמיכות להצלחותיה הבינלאומיות הרבות, כמה חיקויים מהמוצרים התחילו להימכר בארצות שונות בעולם. למרבה המזל למרות שבקשת פטנט בסין לא הוגשה מעולם בשל אילוצים פיסקלים בהתחלה, הוגשה בקשת שירות ( Utility Model) בסין על ידי גולד פטנטים בע"מ ובעקבות הטיפול המיידי והמדוייק הוענקה לה ההגנה המשפטית בינלאומית המיוחלת נגד מפרי הפטנטים. נכון להיום שתי תביעות איתתו הצלחה נגד מפרי הפטנט.

הפטנטים של כרמית ולרבות בקבוק טרוולו ממשיכים לזכות בפרסים בינלאומיים והערכות גבוהות בתעשיות הגדג'טים לנסיעות, היופי והתמרוקים:

  • Winner, Best New Innovation לשנת 2012 מטעם מגזין היופי אל Elle Beauty IT List
  •  Winner, Beauty Best Buys לשנת 2012 מטעם מגזין סגנון Style: Beauty

גם בתחום המדגמים זכתה כרמית לתשבוחות ופרסים וביניהם:

  • Winner of Honourable Mention לשנת 2012 מטעם Red Dot Design Awards

תעודות זכייה נוספות נרשמות לכרמית תורג'מן ממציאת בקבוקון הבושם הנישא החדשני ועל אמצאותיה היחודיות, גאווה ישראלית ממש :

  • Winner, Communicative Product גם היא לשנת 2012 מטעם ה- Promotional Gift of the Year
  • Winner, Best Travel Essential לשנת 2012 והפעם מטעם ה- AS Watson Stores HWB Awards
  • Most Innovative Product לשנת 2012 מטעם ה- Guardian Stores Group

תגובות המדיות השונות  על בקבוקון המתמלא או בשמו המסחרי ה-  Travalo with Genie-S refiller  :

  • Cosmopolitan – “brilliant”
  • Elle – “genious”
  • Vogue – “amazing”

ועוד היד נטויה…..

יותר מ-9000 סרטונים ביו-טיוב המציגים את יתרונות המוצר, דרכי שימושו על ידי משתמשים בעולם.

המוצר נמכר ברשתות יופי ותמרוקים בינלאומיים, ברשתות קניה באינטרנט כמו אמזון ו-איבאי בכמויות ……

כיצד הפכה האמצאה למוצר מיוצר בסין, משווק ומופץ בעולם כולו ותחת סטנדרטים בינלאומיים מוערכים ומובילים, להלן עדויות ממש מהשטח מהאביב 2013, מביקור בהונג קונג של מנכ"לית גולד פטנטים בע"מ, מרגנית גולדרייך וכרמית תורג'מן ממציאת המוצר, צפו בסרטון ובתמונות.

קישור לערוץ יו טיוב הרשמי של חברת טראבלו  – ובו 44 הדגמות  :

 

 

 

 

איפה אנחנו?

הנחיות הגעה

מכיוון צפון, נהריה או הקריות

מרחק נסיעה של כ-4 דקות מלב המפרץ, וכ-9 דקות הליכה.
פונים שמאלה ברמזור אחרי קניון לב המפרץ לרח' האשלג, ממשיכים ישר ועוברים את הכיכר הראשונה, פונים ימינה ברחוב יעקוב מושלי, ונוסעים ישר עד הכיכר הראשונה, הרחוב החוצה הוא יוחנן הסנדלר , חונים בצד ימין לפני הכיכר.

מכיוון דרום או הצ'ק פוסט

מרחק נסיעה של כ-6 דקות מהצ'ק פוסט, כ-18 דקות הליכה מהצ'ק פוסט.
נוסעים ישר לכיוון צפון, הקריות או נהריה, עוברים את הצומת המרכזית שהיא ההצטלבות של דרך העמקים ושדרות ההסתדרות, ומיד אחרי כ-200 מ' מצומת זו פונים ימינה ברח' האשלג. ממשיכים ישר ועוברים את הכיכר הראשונה, פונים ימינה ברחוב יעקוב מושלי, ונוסעים ישר עד הכיכר הראשונה, הרחוב החוצה הוא יוחנן הסנדלר , חונים בצד ימין לפני הכיכר.

יוחנן הסנדלר 15, ת.ד. 25267, חיפה 31251